Fones:
(11) 3902-2310 / 3901-5959
(11) 3902-3245 / 3901-4431
(11)-94497-7561
A linha de sensores indutivos constitui-se de modo geral nos seguintes blocos:
Sensores de proximidade indutivos são elementos ativos capazes de efetuar um chaveamento elétrico sem que seja preciso algum corpo metálico tocá-lo fisicamente. Conforme mostra o diagrama de blocos acima, um sensor tem como coração um oscilador de rádio frequência. Esta oscilação é modificada quando se introduz um objeto metálico no campo magnético da bobina, retornando ao normal quando se retira o objeto. As modificações do comportamento do oscilador são demoduladas e interpretadas pelo trigger de modo a obter-se uma saída de sinal HIGH-LOW, ou seja, uma onda quadrada bem definida, capaz de excitar um circuito de potência, tal como um transistor ou um tiristor, obtendo assim uma chave liga-desliga em estado sólido, com condições de efetuar um chaveamento sobre bobinas de relê, pequenos contatores, ou mesmo circuitos lógicos. Todo esse conjunto eletrônico é montado em forma bastante moderna utilizando técnicas avançadas, o qual é alojado em invólucros plásticos ou metálicos e encapsulado com resina epóxi de alta densidade, formando um bloco sólido à prova d’água, vibrações e intempéries.
Os sensores de proximidade indutivos são utilizados largamente em todos os lugares onde as condições de trabalho são extremas, tais como: óleo lubrificante, óleo solúvel, óleo de corte, vibrações, onde são exigidos altos níveis de vedação e robustez. Estes sensores têm como alvo padrão, apenas a presença de material metálico.
Existem muitas vantagens na sua utilização, porém as principais são:
É largamente empregado em:
É aquela por onde sai o campo eletromagnético de alta frequência nos sensores.
É constituído de uma plaqueta de aço SAE 1020 de forma quadrada, com 1mm de espessura, cujo lado deve ser igual ao diâmetro “d” que representa a superfície ativa do sensor.
A montagem embutida de sensores com a superfície ativa faceada não oferece maiores problemas, devendo-se somente respeitar o espaçamento entre sensores para um perfeito funcionamento do sistema.

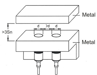
Nesse caso deve-se ter mais atenção para a montagem, devendo o sensor ficar livre de todos os lados da face ativa, pelo menos três vezes o diâmetro “d” que representa a superfície ativa do sensor.

São os sensores que possuem a bobina praticamente blindada lateralmente pelo corpo do sensor e assim sendo não produzem campo magnético lateral, podendo o mesmo ser embutido em blocos metálicos sem quaisquer problemas.
É um artifício usado para que um sensor tenha sua distância de comutação (Sn) ampliada, ou seja, acima dos padrões adotados para aquele tamanho de sensor que não está blindada e o campo magnético por ela produzido em blocos metálicos, sem que se observe a zona livre de 3x o diâmetro do sensor na região da face sensível.
De acordo com a norma DIN EN 50.010 é a distância entre a face do sensor e o metal ativador no momento em que ocorre o chaveamento elétrico.

É a distância medida com tensão de alimentação e temperatura nominal. A distância real inclui as tolerâncias de fabricação final ± 10% da distância ²Sn².0,9Sn< S 1,1Sr.
É aquela onde a comutação de sensor se efetua, onde se determina as condições de trabalho. 0,9Sn < S 1,1Sr.
Esta distância é a que garante um funcionamento seguro do sensor, sob as condições estabelecidas de temperatura e tensão. Ela pode ser escolhida entre 0 e 81% de Sn.

Av. Guilherme Mankel, 226 - São Paulo/SP - Fone/Fax: (11) 3902-2310 ou (11) 3902-3245
contato@sensorbras.com.br © copyright 2013 Sensorbras - todos os direitos reservados
Entre em contato:
Skype
Vendas-online
E-mail